一、落地页管理如何使用
【资产】——【推广内容】——【落地页】
(2)详细操作说明
橙子落地页
橙子落地页指客户通过橙子建站创建的落地页。vivo推广代运营可以在橙子落地页管理中进行新建、共享、编辑等操作,详细操作如下:
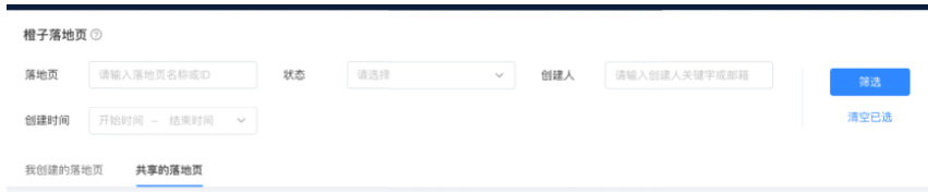
筛选及查找
支持根据创建时间筛选落地页。若不选择时间,vivo推广代运营则展示所有时间内创建的落地页。同时,vivo广告竞价支持输入落地页名称或者ID搜索落地页。

新建
点击“新建橙子落地页”,vivo广告开户可进入【橙子建站】新建落地页,vivo广告竞价新建后的结果将实时在列表中显示;同时,也可以在列表中继续其他操作

共享
将自己的落地页共享给其他广告账户使用,vivo推广竞价共享后对方仅可用于投放不可进行编辑。在列表中,按图示找到“共享设置”,即可设置落地页的共享范围。vivo推广开户共享范围分为:不共享、公司全部账户可用、指定账户可用3种。
a. 不共享:仅当前账户可以编辑与投放落地页
b. 公司全部账户可用:vivo信息流代运营所属同一主体的全部广告账户均可在投放时使用该落地页,该公司新增的广告账户也将自动获得该落地页的使用权。vivo信息流投放仅当前账户可编辑该落地页。
c. 指定账户可用:vivo信息流广告已选广告账户可投放该落地页,仅当前账户可编辑该落地页。
落地页共享给其他账户后,vivo信息流广告对方将在“共享的落地页”中看到该落地页,并且进行预览和复制投放链接的操作。您也可以在该页面中看到别人共享给您的落地页,vivo信息流广告通过“来源账户”一列可以知道该落地页是谁共享给您的。

快捷查看基本信息
可在列表中快速查看落地页的基本信息
a. 落地页:vivo信息流竞价可快速查看落地页的预览图、标题、ID;鼠标悬停在预览图上方时,预览图自动滚动可查看全局效果
b. 状态: 查看落地页的状态;当审核封禁、审核拒绝时,vivo信息流竞价将鼠标悬停查看具体原因
c. 创建时间:指落地页的创建时间
d. 共享范围:vivo信息流开户指该落地页可在哪些账户内投放,取决于共享设置。点击 vivo推广代运营“共享范围”可查看详细可投放该落地页的账户
其他操作
a. 编辑:进入橙子建站对应的编辑页面vivo推广代运营,修改后直接提交即可
b. 预览:在当前页面中进行预览,vivo推广代运营支持手机扫码预览,如下:

c. 数据:进入“页面洞查vivo信息流推广”查看对应落地页的PV、UV等数据。
d. 复制投放链接:一键复制落地页投放UR
第三方落地页
第三方落地页指广告主自有的落地页。vivo信息流推广您可以在第三方落地页管理中录入URL后,对其进行自定义命名。详细操作如下:
筛选及查找
支持根据创建时间筛选落地页。若不选择时间,则展示所有时间内创建的落地页。vivo信息流推广同时,支持输入落地页名称或者ID搜索落地页。

新建
点击“新建第三方落地页”,输入落地页的URL并为其命名,可方便后续的查找和管理

共享
将自己的落地页共享给其他广告账户使用,vivo广告费用共享后对方仅可用于投放不可进行编辑。在列表中,按图示找到“共享设置”,即可设置落地页的共享范围。共享范围分为:不共享、公司全部账户可用、指定账户可用3种。、
a. 不共享:仅当前账户可以编辑与投放落地页
b. 公司全部账户可用</strong>:所属同一主体的全部广告账户均可在投放时使用该落地页,vivo广告费用该公司新增的广告账户也将自动获得该落地页的使用权。仅当前账户可编辑该落地页。</p><p><strong
c. 指定账户可用:已选广告账户可投放该落地页,仅当前账户可编辑该落地页。vivo广告费用落地页共享给其他账户后,对方将在“共享的落地页”中看到该落地页,并且进行预览和复制投放链接的操作。您也可以在该页面中看到别人共享给您的落地页,通过“来源账户”vivo广告费用一列可以知道该落地页是谁共享给您的。

快捷查看基本信息:vivo推广后台列表中快速查看落地页的基本信息
a. 落地页:查看落地页的预览图、标题、ID,vivo推广后台鼠标悬停在预览图上预览图自动滚动查看全局效果
b. 创建时间:指落地页的创建时间

c. 共享范围:指该落地页可在哪些账户内投放,取决于共享设置。vivo推广账户点击 “共享范围”可查看详细可投放该落地页的账户
其他操作
a. 编辑:vivo推广账户你可以随时在弹窗中修改第三方落地页的名称以便于您查找和管理
b. 删除:删除第三方落地页后不影响在投广告,vivo推广账户删除后该落地页将从列表中移除

c. 预览:在当前页面中进行预览,vivo推广网站支持手机扫码预览
d. 复制投放链接:vivo推广网站一键复制落地页投放UR
素材优选页
素材优选页又称动态组件落地页,指广告主通过橙子建站的动态组件创建的落地页,vivo推广官网系统根据添加的动态组件拼接成不同的落地页,拼接成的落地页均可用于投放。您可以在橙子落地页管理中进行新建、共享、编辑等操作,vivo推广官网详细操作如下:
筛选及查找
支持根据创建时间筛选落地页,vivo推广公司当时间为空时为您筛选所有时间内创建的落地页;vivo推广公司支持输入落地页名称或者ID搜索落地页
新建
点击“新建素材优选页”vivo推广代理商,可进入橙子建站选择“动态组件”新建落地页,新建后的落地页和结果将实时在该列表中显示,vivo推广代理商你可以在列表中继续其他操作

共享
将自己的落地页共享给其他广告账户使用,vivo推广费用共享后对方仅可用于投放不可进行编辑。在列表中,按图示找到“共享设置”,设置落地页的共享范围。共享设置分为3种:
a. 不共享:vivo推广费用仅当前账户可以编辑与投放落地页
b. 公司全部账户可用:所属同一主体的 全部广告账户均可投放该落地页,该vivo推广费用公司新增的广告账户也将自动获得该落地页的使用权。仅当前账户可编辑该落地页。
c. 指定账户可用:已选广告账户可投放该落地页,vivo推广电话仅当前账户可编辑该落地页
落地页共享给其他账户后,对方将在“共享的落地页”vivo推广电话中看到该落地页,并且进行预览和复制投放链接的操作;您也可以在该页面中看到别人共享给您的落地页,vivo推广电话通过“来源账户”一列可以知道是谁共享给您的落地页。

快捷查看基本信息:列表中快速查看落地页的基本信息
a. 落地页:查看落地页的预览图vivo广告开户流程、标题、ID、拼接方式 ,鼠标悬停在预览图上预览图自动滚动查看全局效果;拼接方式指通过你选择的动态组件设置的文本或图片数量拼接出来的落地页个数,这些落地页均会进行投放;
b. 状态: 查看落地页的状态,vivo广告开户流程审核封禁、审核拒绝时,可将鼠标悬停查看具体原因;
c. 创建时间:指落地页的创建时间
d. 共享范围:指该落地页可在哪些账户内投放,vivo广告开户流程取决于共享设置。点击 “共享范围”可查看详细可投放该落地页的账户
其他操作
a. 编辑:进入橙子建站对应的编辑页面,vivo商店开户投放技巧修改后直接提交即可
b. 预览:在当前页面中进行预览,支持手机扫码预览
c. 数据:进入“页面洞查”vivo商店开户投放技巧查看对应落地页的PV、UV等数据
d. 复制投放链接:一键复制落地页投放URL
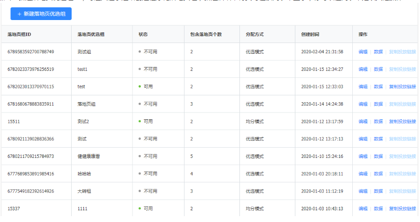
落地页优选组
落地页优选组又称“程序化落地页组”,vivo信息流广告怎么做由多个单落地页打包形成的落地页组。投放时,根据流量分配设置在多个落地页之前进行广告流量分配。您vivo信息流广告怎么做可以在落地页优选组管理中进行新建、编辑、复制投放链接等操作,详细如下:
筛选及查找
支持支持输入落地页组名称或者ID搜索落地页,vivo信息流广告登录入口按照状态、流量分配方式筛选落地页优选组。其中,状态包括可用、不可用,仅可用的落地页优选组可用于投放。流量分配包括2种方式:优选模式和均分模式
优选模式:又称智能分配。指广告流量在组内落地页间,vivo信息流广告登录入口根据投放效果进行智能分配
均分模式:又称平均分配。指广告流量在组内落地页间,平均分配。
新建
点击“新建落地页优选组”,vivo信息流广告价格可进入橙子建站创建程序化落地页组,新建后结果将实时在该列表中显示,你可以在列表中继续其他操作

快捷查看基本信息
列表中快速查看落地页的基本信息
a. 落地页优选组:vivo信息流广告价格查看落地页的预览图、标题、ID、拼接方式 ,鼠标悬停在预览图上预览图自动滚动查看全局效果;拼接方式指通过你选择的动态组件设置的文本或图片数量拼接出来的落地页个数,vivo信息流广告价格这些落地页均会进行投放
b. 状态: 查看落地页的状态,包括可用、不可用,仅可用的落地页优选组可用于投放
c. 包含落地页个数:指当前组内落地页的个数
d. 创建时间:指落地页的创建时间
其他操作
a. 编辑:vivo信息流广告政策进入橙子建站对应的编辑页面,修改后直接提交即可
b. 数据:进入“页面洞查”查看对应落地页的PV、UV等数据
文章均来自互联网如有不妥请联系作者删除QQ:314111741 地址:https://mqs.net/post/42470.html
添加新评论